江苏净松环境科技有限公司官网
ERP登录 | 邮箱登录 | 中文 | English
  •  首  页 
  • 关于我们
    • 企业简介
    • 品牌故事
    • 企业文化
    • 荣誉资质
  • 新闻中心
    • 公司动态
    • 行业动态
    • 康居讲堂
  • 产品中心
    • 商用空调系列
    • 三维六恒系列
    • 除湿产品系列
    • 家用新风系列
    • 精密空调系列
    • 空调末端系列
    • 智慧校园系列
    • 空气消毒机列
    • 净松智慧农业系列产品
    • 商用新风系列
  • 案例展示
  • 体验中心
    • VR体验
    • 视频体验
    • 旗舰体验店
  • 合作与支持
    • 渠道合作
    • 售后服务
    • 技术支持
  • 联系我们
    • 联系方式
    • 在线留言
 
当前位置:首 页 > 新闻中心 > 行业动态
新闻中心
  • 公司动态
  • 行业动态
  • 康居讲堂
行业动态
住房城乡建设部关于发布国家标准《住宅项目规范》的公告
住房城乡建设部关于发布国家标准《住宅项目规范》的公告
2025-04-03
2023中国质检协会人居环境专委会年会暨第二届中国人居环境行业发展大会在中国建研院顺利召开
2023中国质检协会人居环境专委会年会暨第二届中国人居环境行业发展大会在中国建研院顺利召开
2023-04-24
净松环境受邀参于《组合式空调机组》GB/T 14294修订第二次工作会议
净松环境受邀参于《组合式空调机组》GB/T 14294修订第二次工作会议
2023-03-10
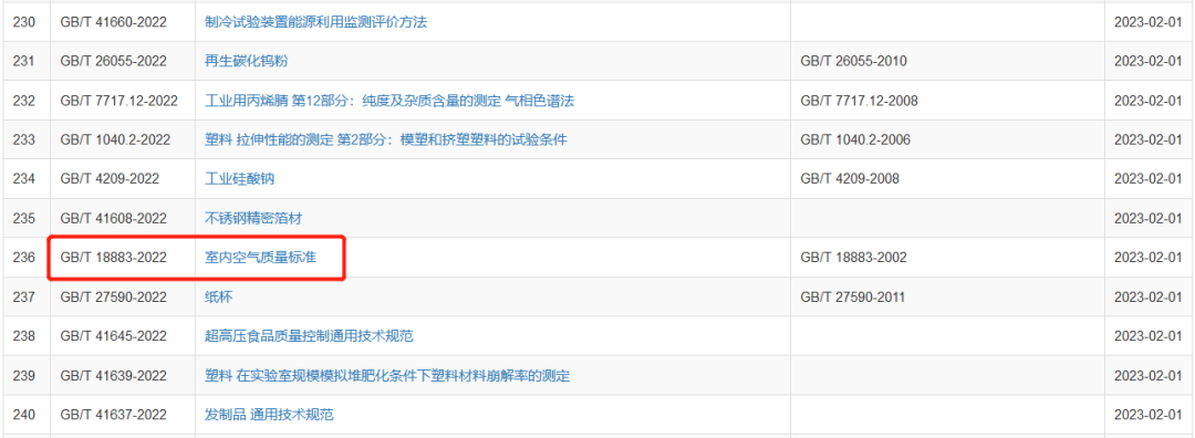
《室内空气质量标准》GB/T 18883-2022自2月1日起正式开始实施
《室内空气质量标准》GB/T 18883-2022自2月1日起正式开始实施
2023-02-04
新风系统普及率为什么不高?
新风系统普及率为什么不高?
2022-10-28
新风系统,如何在被动房的风口抢占先机?
新风系统,如何在被动房的风口抢占先机?
2022-09-02
历经20年,GB/T 18883《室内空气质量标准》正式更新!
历经20年,GB/T 18883《室内空气质量标准》正式更新!
2022-08-12
第三十三届中国制冷展在重庆开幕
第三十三届中国制冷展在重庆开幕
2022-08-05
现场直击丨第三十三届中国制冷展,人居环境行业哪些企业来了?一起来看看!
现场直击丨第三十三届中国制冷展,人居环境行业哪些企业来了?一起来看看!
2022-08-04
新风行业五大强劲细分市场
新风行业五大强劲细分市场
2022-04-16
两会热点 | 全国政协委员郝际平:将新风净水系统纳入老旧小区改造项目中
两会热点 | 全国政协委员郝际平:将新风净水系统纳入老旧小区改造项目中
2022-03-12
新风系统发展之路的瓶颈分析
新风系统发展之路的瓶颈分析
2021-12-21
临近年末,新风企业如何在新一轮变革中破局出击
临近年末,新风企业如何在新一轮变革中破局出击
2021-12-04
新风行业谈“革命成功”尚早
新风行业谈“革命成功”尚早
2021-10-29
在国家政策的扶持下,目前的新风市场已经到了平稳发展的阶段,不太可能会出现陡然增长的现象。这已经不再是一个可以独领风骚的时代了。
新风空调,将成行业新风口?
新风空调,将成行业新风口?
2021-10-14
总共28条上一页12尾页下一页总共2页

关于我们

企业简介
品牌故事
企业文化
荣誉资质

产品中心

商用空调系列
三维六恒系列
除湿产品系列
家用新风系列
精密空调系列
空调末端系列
智慧校园系列
空气消毒机列
净松智慧农业系列产品
商用新风系列

联系我们

电话:400 6468 668
电话:025-86112379
地址:南京市江宁区开拓路8号

 

Copyright© 2017-2021 江苏净松环境科技有限公司 版权所有 VARKI.CN ALL RIGHTS RESERVED. 苏ICP备17066512号-1